Szerokopasmowe wzmacniacze current-sense do systemów napędowych i zasilających

Analog Devices wprowadza na rynek dwa wzmacniacze current-sense o symbolach AD8410A i AD8411A, przeznaczone do pomiaru natężenia prądu w aplikacjach o szerokim zakresie napięcia sumacyjnego. Umożliwiają one precyzyjny pomiar prądu przepływającego przez rezystor bocznikowy w obecności sygnałów zakłócających, takich jak przebiegi PWM. Mogą znaleźć zastosowanie w układach napędowych i zasilających oraz w aparaturze pomiarowej.

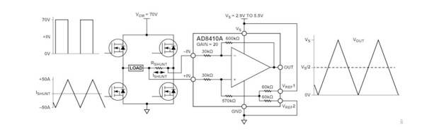
Model AD8410A pracuje z napięciem zasilania od 2,9 do 5,5 V. Charakteryzuje się wzmocnieniem 20 V/V i szerokością pasma 2,2 MHz. Maksymalny błąd wzmocnienia w całym zakresie temperatury roboczej wynosi ±0,13%. Układ zapewnia dużą odporność na napięcie sumacyjne. Jego współczynnik CMRR wynosi typowo 142 dB dla DC oraz 96 dB przy 50 kHz, co zapewnia stabilną pracę w warunkach silnych zaburzeń elektromagnetycznych i dużych zmian napięcia wejściowego. Dopuszczalny zakres napięcia sumacyjnego mieści się w przedziale -2...+70 V podczas normalnej pracy oraz -20...+85 V dla obciążeń chwilowych. Wbudowany układ kompensacji DigiTrim zapewnia mały dryft offsetu, wynoszący ±0,21 μV/°C, bez konieczności stosowania technik autozerowania/chopper, które mogłyby wprowadzać zniekształcenia intermodulacyjne. Maksymalne napięcie offsetu nie przekracza ±200 μV w całym zakresie temperatury roboczej od -40 do +125°C.

Model AD8411A różni się głównie wzmocnieniem i pasmem. Jej nominalne wzmocnienie wynosi 50 V/V, a szerokość pasma małosygnałowego to 2,7 MHz. Maksymalny błąd wzmocnienia wynosi ±0,15% w zakresie temperatury od -40 do +125°C. Podobnie, jak w przypadku AD8410A, zastosowane układy kompensacji i filtracji, pozwalają na uzyskanie dużego współczynnika CMRR i małego dryftu offsetu.

Oba wzmacniacze umożliwiają dwukierunkowy pomiar natężenia prądu i zawierają buforowane wejście z możliwością bezpośredniego podłączenia do przetwornika A/C lub innego układu pomiarowego. Uzyskały kwalifikację AEC-Q100, pozwalającą na zastosowania w motoryzacji. Są zamykane w obudowach SOIC-8, MSOP-8 i MSOP-10.

Więcej na: www.analog.com

Pozostałe produkty z kategorii